办理事项:
省级科技型中小企业技术创新基金项目初审
办理依据:
关于印发《广东省省级前沿与关键技术创新 专项资金管理办法》的通知
受理条件:
具体要求见当年项目申报指南
申请材料:
序号 |
材料名称 |
要求 |
份数(份/套) |
纸质版/电子版 |
来源渠道 |
|
原件 |
复印件 |
|||||
1 |
广东省科技计划项目申报书 |
具体要求见当年项目申报指南 |
1 |
0 |
纸质/电子化 |
申请人 |
业务流程:
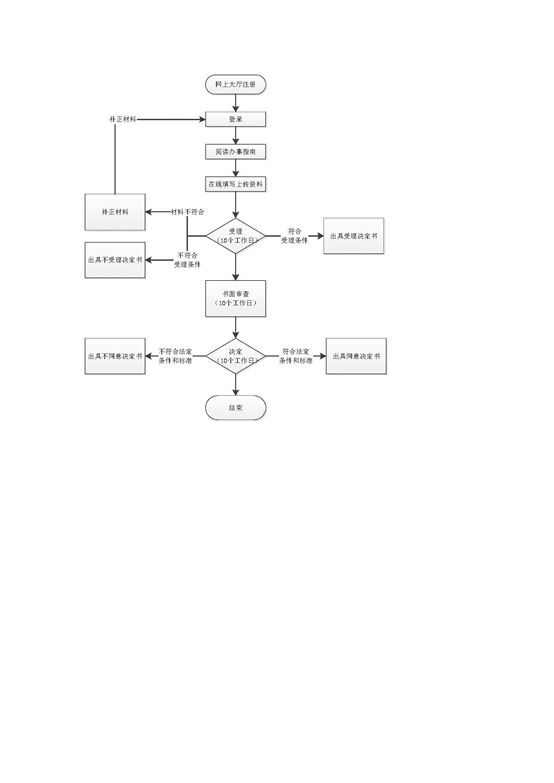
1.申请:登录广东省网上办事大厅省级专项资金管理平台和省科技业务管理阳光政务平台(//pro.gdstc.gov.cn/egrantweb/),按要求进行网上注册,注册成功后根据审批事项申请要求,填写表格,上传电子材料,完成网上申请。
2.受理:工作人员收到申请材料之日起10个工作日内做出受理或不予受理决定。经审查,材料不全或不符合法定形式的,工作人员一次性告知申请人需要补正的全部内容,申请人应在10个工作日内一次性予以补正,逾期不补正的作退件处理。申请人符合申请资格,并材料齐全、格式规范、符合法定形式的,予以受理;申请人不符合申请资格或材料不齐全、不符合法定形式的,接件受理人员不予受理。
3.审查:受理后,审查人员对材料进行书面审查,在承诺办理时限内作出审查决定。
4.决定:符合法定条件、标准的,准予通过;不符合法定条件、标准的,不予通过。

办理时限:
申报单位网上申报及提交截止时间按当年申报通知为准。书面申报材料送SG飞艇(中国)开奖记录查询站科技局高新科(截止时间按当年申报通知为准)。
服务收费:
不收费
办理地点:
书面材料报送地址:SG飞艇(中国)开奖记录查询站蓬江区港口一路68号SG飞艇(中国)开奖记录查询站科学技术局高新科(邮政编码:529000)
联系电话: 0750-3129007
交通指引:在SG飞艇(中国)开奖记录查询站区内乘坐公交车:2路、5路、7路、18路、19路、22路、23路、26路、27路、38路、44路、51路、107路在凤凰山站下车,步行到SG飞艇(中国)开奖记录查询站科学馆。
SG飞艇(中国)开奖记录查询站
门户网站

粤公网安备 44070302000670

